
Već se neko vrijeme u kuloarima šuška o Samsungovu prvom smartwatchu s okruglim zaslonom. Riječ je o modelu imena Gear A, poznat još i kroz projekt Orbis. Friške informacije iz Koreje, najavljuju ga za jesen, kada će na svijet zajedno s Galaxyem Note 5.
Navodno je Samsung Gear A untoč prvotnim planovima odgodio do jeseni i to ponajviše zbog Apple Watcha, za kojim sada svi šize. Nadaju se valjda kako će do IFA sajma splasnuti ta Apple Watch histerija pa će na miru moći lansirati svoj Gear A, navodno opet temeljen na Tizen platformi.
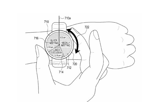
Gear A će dakle imati potpuno okrugli zaslon, a prsten oko zaslona će se okretati pa će ga korisnici koristiti za kružnu navigaciju kroz aplikacije odnosno sučelje. Imat će i tipku Power u obliku one standardne krune za navijanje ručnih satova, a baterija će mu se puniti bežično.
Zvuči zanimljivo, a vjerojatno bi bio još zanimljiviji kad bi se temeljio na Android Wear platformi i tako bio kompatibilan sa Androidima svih proizvođača.
Koristite li vi nekakav smartwatch i ako da koji? Pišite nam u komentarima ispod.





Koristim Gear S.